Deze 80 meter vossejachtsuper werd speciaal ontworpen voor jagers die een klein, handig en gevoelig apparaat willen, waarmee ook zomaar op de 80 meterband geluisterd kan worden, maar die als jachtgeweer zeker voor prijzen zal zorgen!
Niet alleen voor de amateur zelf, maar ook voor de gezinsleden een apparaat dat gemakkelijk te bedienen is. In eon avond te bouwen en in e'en avond of te regelen en daarna jaren plezier. Meteen aan beginnen toch!
De schakeling is geïnspireerd op een ontwerp van Knut Brenndorfer, waarschijnlijk een oosterbuur van ons, en is in 1978 gepubliceerd in Funkschau.
In het schema zijn na een aantal proefnemingen wat wijzigingen aangebracht, o.a. werd de schakeling eveneens geschikt gemaakt voor AM. Voorts werd de gelijkloop verbeterd en werd een moeilijk verkrijgbare potkern vervangen door een ringkern. Tenslotte werd er een kastje voor ontworpen dat zelfs aan de meest ruwe behandeling weerstand biedt, flinke Hollandse buien kan weerstaan en de kwetsbare ferrietantenne beschermt waardoor bovendien de peilwerking nog verbeterd werd.
In afwijking van het oorspronkelijke ontwerp werd de sense-antenne inschuifbaar gemaakt, hetgeen praktisch is als hij niet gebruikt wordt omdat hij veilig in het kastje zit.
Het vossejagen kan zich de laatste tijd verheugen in steeds grotere aantallen deelnemers; kijk maar naar De Jutberg. Ook de 80 meter jachten verheugen zich in een stijgende belangstelling.
Vermoedelijk geinspireerd door de rechtuit ontvanger uit Elektuur, die destijds door John PA0VER in CQ-PA beschreven werd, hebben velen naar de soldeerbout gegrepen en dit ontwerp nagebouwd. Zo ook uw redakteur.
Een nadeel van het ontwerp was echter het bij een rechtuit behorende bedieningsongemak. Terugkoppeling, HF-versterking en afstemming beihvloeden elkaar, waarbij als het signaal zwak is zoals meestal bij de start het geval is, Lang geprutst moet worden om de vos te horen. De `rechtuiterd' blijft dan gefrustreerd achter als alle 'supers' allang vertrokken zijn! Ik was dan ook blij met het artikel uit Funkschau, waarvan bier een bewerking met aanvullingen volgt die vermoedelijk voldoende is om de nabouw zonder problemen te laten verlopen.
Een normale ontvanger is niet geschikt voor vossejachten omdat daarbij heel andere eisen aan de ontvanger gesteld worden. Die eisen zijn: gering gewicht, eenvoudige bediening zo mogelijk met een hand, moet ook dicht bij de zender functioneren, duidelijke voOr achter verhouding (antenne), moet bestand zijn tegen slecht weer en tenslotte: een ijzersterke stabiele constructie.
Door de ontwerper is getracht een concept op te stellen dat zo goed mogelijk aan de eisen voldoet. Voor het electronisch ontwerp werd uitgegaan van een beschrijving van een 80 meter peilontvangertje in CQ-DL, dat voorzover het de electronica betreft de gestelde eisen zo optimaal mogelijk vervult.
De LF-versterker wordt met een OpAmp uitgevoerd, die bij een gering opgenomen vermogen en bij aansluiting van een middel- tot hoogohmige koptelefoon meer dan voldoende geluidsterkte produceert. Luidspreker ontvangst werd voor wat betreft het vossejagen overbodig geacht en het kost slechts nodeloze batterijstroom.

Foto 1. De gemonteerde print. Het afschermschotje naast het IC is beslist noodzakelijk.
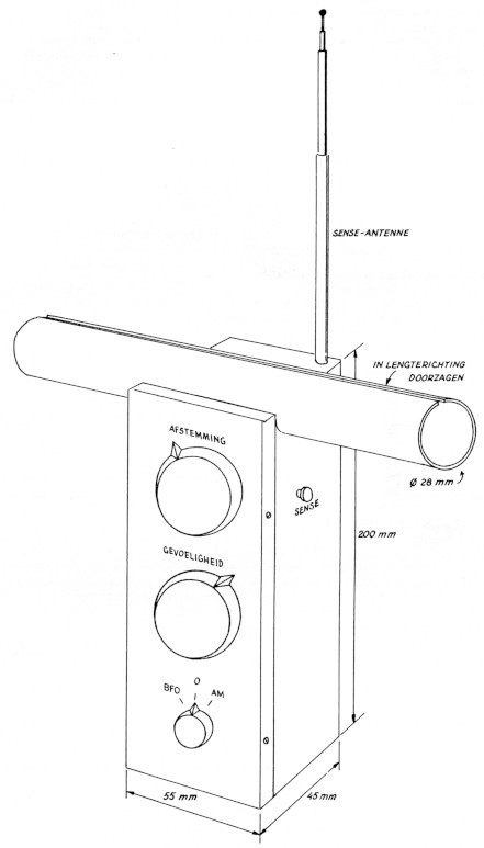
In figuur 1 is de schakeling van het apparaat getekend. De mechanische uitvoering is zodanig gekozen dat een handvat overbodig is; het apparaat is zelf handvat. Afstemming, HFregelaar en druktoets voor het inschakelen van de sense-antenne zijn met eon hand te bedienen. Het kastje werd vervaardigd van blik; dat is stevig en heeft slechts een gering gewicht.

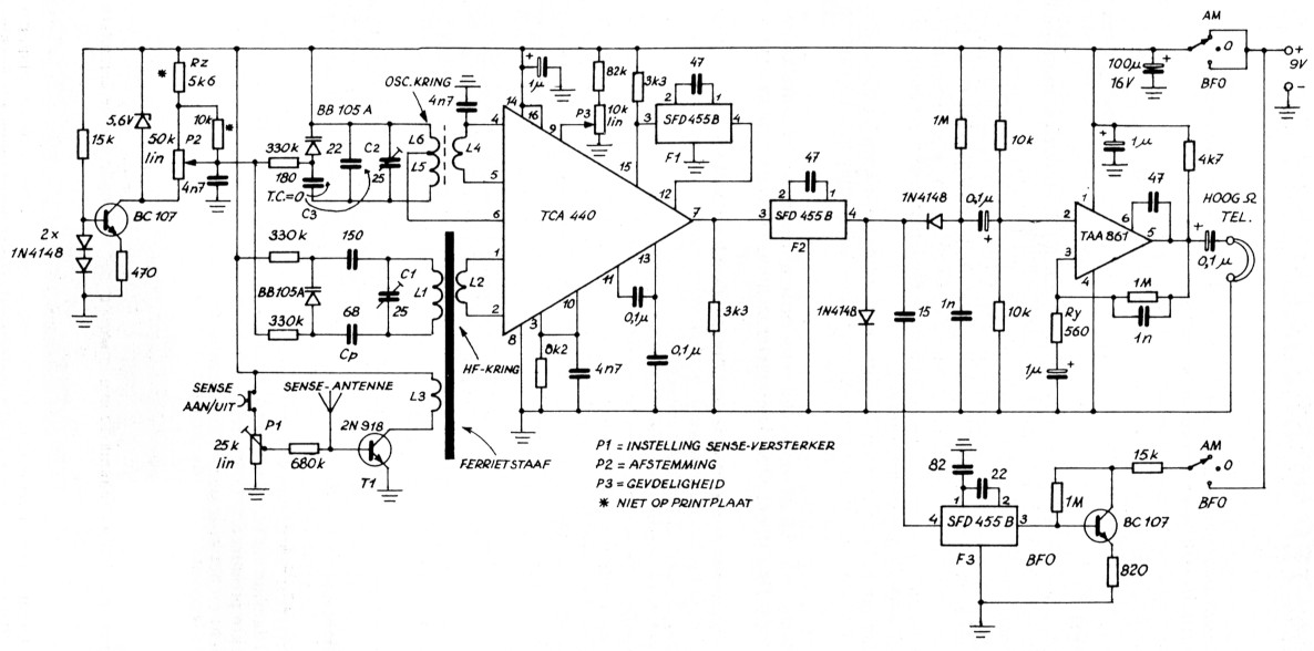
Fig. 1. Schema.
Eventueel kan nog een draagriem aan het kastje bevestigd worden, waardoor de jager zonodig beide handen vrij heeft (veel vossejachten spelen zich in een bosrijke omgeving af).
De in de ferrietstaaf geihduceerde HF-spanning wordt door de kring L1, CT1, BB105A geselecteerd en via L2 met de HF-trap van de geihtegreerde AM-ontvangerschakeling TCA440 gekoppeld. L5 en L4 en de daarbij behorende onderdelen vormen de schakeling van de geintegreerde oscillator, waarvan het signaal samen met het HF-signaal in een balansmixer wordt omgezet naar een MF van 455 kHz.
Dit signaal wordt eerst in F1 gefilterd, dan in een drietraps MF-versterker versterkt en vervolgens na een tweede keramisch filter F2 gelijkgericht.
De HF-trap en de drie MF-trappen zijn met P3 samen over meer dan 100 dB regelbaar. Voor de demodulatie wordt voor SSB een BFO-signaal via 15 pF geinjecteerd. Deze BFO kan voor ontvangst van AM-signalen uitgeschakeld worden. De BFO is met het keramische filter F3 als resonator opgebouwd.
Het na demodulatie verkregen LF-signaal wordt met de OpAmp TAA861 op de voor koptelefoon-ontvangst gewenste sterkte gebracht. De versterking kan, indien noodzakelijk, door het vergroten van R4 verminderd worden.
De voor de varicapafstemming noodzakelijke stabiele spanning wordt geleverd door de zenerdiode, die via een als constante stroombron geschakelde transistor gevoed wordt. Een schakeling die bij peilontvangers noodzakelijk is om voor of achter te bepalen is rond T1 gebouwd (sense). Deze werkt als regelbare versterker en koppelt het signaal van de hulpantenne via L3 met de ferrietantenne. Met een drukknop wordt deze trap alleen voor voorachterbepaling ingeschakeld.
De ferrietstaaf is voor electrische velden afgeschermd en kan dus alleen beihvloed worden door het magnetisch veld van de zender. In L1 wordt dus een spanning opgewekt die evenredig is met het magnetisch veld van de zender. Hierdoor treedt er richteffect op. De sprietantenne (sense-antenne) wordt echter door het complete electromagnetische veld beihvloed, zodat in L3 een spanning wordt opgewekt die evenredig is met het veld van de zender. Hierbij treedt geen richteffect op want de sense-antenne is een rondstraler. Aangezien het magnetisch veld op enige afstand van een zender in fase is met het electrisch veld zal de spanning over L1 in fase zijn met de spanning over L3. Keert men de aansluitingen van L1 om dan zal de spanning over L1 in tegenfase zijn met de spanning over L3. De grootte van de spanning over L3 wordt bepaald door de lengte van de spriet en de versterking van de sense-versterker (2N918).
Indien men door een juiste instelling van deze versterker de spanning over L3 precies gelijk maakt aan de spanning over Li, zullen de magnetische velden van L1 en L3 in de ferrietstaaf elkaar of ondersteunen Of tegenwerken (afhankelijk van de polariteit van L1 ofwel afhankelijk van de stand van de ferrietstaaf; 180° draaien van de ferrietstaaf keert n.l. de fase van de spanning over L1 om).
Met andere woorden: in het ene geval heeft men max. ontvangst en in het andere geval (de ferriet-antenne 180° gedraaid) heeft men minimum ontvangst. Op deze wijze verkrijgt men eenrichtinggevoeligheid!
Zonder de sense-antenne is de ferrietstaaf in twee richtingen gevoelig, doch heeft scherpe minima aan de beide zijkanten, zodat in dat geval precisiepeilingen kunnen worden verricht. Meestal bepaalt men aan de start van de vossejacht met behulp van de ingeschakelde sense-antenne de juiste hoofdrichting van de zender. Vervolgens schakelt men de senseantenne uit en zoekt al peilend op minimum (in het verlengde van de ferrietstaaf) de vos op.
Figuur 2 toont de print waarop de schakeling gebouwd wordt. Bij het plaatsen van de onderdelen (figuur 3) moet er op gelet worden dat alle componenten zo dicht mogelijk tegen de print gemonteerd worden. Over de onderdelen kan nog het volgende worden opgemerkt. In de oscillator bevinden zich twee condensatortjes met een temperatuurscoefficient van nul (zwarte codering); eventueel kunnen hiervoor in de plaats condensatortjes van het fabrikaat Styroflex worden toegepast.

Fig. 2.

Fig. 3.
Voor de oscillatorspoel kan ofwel gekozen worden voor een Siemens potkern ofwel voor een ringkerntje (b.v. T50-2 Amidon, Holland Electronics to Leiden).
Figuur 4 laat zien hoe de potkern of de ringkern bewonden moet worden; de windingen moeten gelijkmatig over de hele ringkern worden verdeeld. De tekening van de ferrietantenne spreekt voor zichzelf.

Fig. 4. Wikkelgegevens L1 t/m L6
Vervolgens wordt de oscillatorspoel met twee componentenlijm vastgelijmd. Belangrijk is, dat pas met de afregeling begonnen wordt als de lijm volledig is uitgehard. Tijdens het uitharden verandert er namelijk wat aan de electrische eigenschappen van het kernmateriaal waardoor de afstemming beihvloed wordt. Bij het proefmodel duurde het twee dagen voordat de zaak uiteinde'jk stabiel was!
De oscillatorfrequentie werd boven de HF-frequentie gekozen waardoor een goede gelijkloop eenvoudiger gerealiseerd kon worden. De oscillator werkt dus in het gebied van 3955 kHz tot 4255 kHz, hetgeen gemakkelijk met een tweede ontvanger gecontroleerd kan worden.
Met de eerderbesproken condensatoren C3 in de oscillatorschakeling kan, wat betreft de temperatuurcoefficient, worden geexperimenteerd. Nadat de schakeling gebouwd en ingeblikt is in de koelkast plaatsen; loopt de frequentie van de oscillator omhoog tijdens het afkoelen dan C3 kiezen met een groter temperatuurcoefficient.
Tenslotte nog iets m.b.t. de gelijkloop. Door de toleranties in de diverse componenten is deze niet helemaal voorspelbaar. Klopt het niet dan kan voor de condensator die in serie met de varicap staat (68 pF, in het schema Cp) een andere waarde worden gekozen.
Als de print geheel gemonteerd is kan deze getest worden, waartoe via een milliampere-meter een 9 volt batterijtje wordt aangesloten. De stroom moet ca 15 mA bedragen. Als nu de toper van P3 naar massy gedraaid wordt moet de ontvanger ruisen. Vervolgens wordt P2 half open gedraaid en een signaal van 3650 kHz van een griddipper of trimzender licht met de ferrietantenne gekoppeld.
Met C2 wordt nu op dit signaal afgestemd. Vervolgens wordt met P3 het signaal zover verzwakt dat het nog juist hoorbaar is, waarbij de koppeling met de ferrietantenne ook zo los mogelijk moet zijn.
Nu wordt met Cl op maximum signaal afgestemd. Vervolgens wordt het HF-signaal verder verzwakt en wordt Cl fijn nageregeld. Daarna wordt de gevoeligheid aan de bandeinden gecontroleerd en eventueel door het wijzigen van de `padder' condensator Cp gecorrigeerd. Met de aangegeven waarden behoort het afstembereik te liggen tussen 3450 en 3820 kHz. Mocht het afstembereik te klein zijn dan kan dit vergroot worden door R2 te verkleinen.
Aan de BFO valt niets te verkleinen, hooguit kan bij een te sterke injectie de condensator van 15 pF iets verkleind worden.

Fig. 5.
Nu de afregeling van de sense-antenne; hiervoor moet de hulp van een locale 80 meter amateur worden ingeroepen. De drukknop wordt ingedrukt en P1 wordt zodanig afgeregeld dat maximale verzwakking van het signaal wordt bereikt met de achterzijde van de print naar de zender toegekeerd; indien de voorzijde van de print naar de zender toegekeerd moet worden dan moeten de aansluitingen van L1 worden verwisseld. Dit afregelen kan het beste gebeuren op een paar kilometer afstand van de zender, met de sense-antenne niet meer dan 30 cm uitgetrokken. Verder uittrekken van de sense-antenne verslechtert het effect en moet dan ook nagelaten worden.
Men zal bemerken dat de afregeling van P1 erg kritisch is, maar dan is de voor- achterverhouding ook uitgesproken duidelijk!
Zelfs zeer dicht bij de zender werkt de sense nog voortreffelijk, al moet dan de antenne ingeschoven worden tot ca 15 cm.
Het kastje wordt vervaardigd van stevig blik en meet 200 × 45 × 55 mm. Op het kastje wordt een passend dekseltje gemaakt. In het kastje komt, zoals bovenstaande foto last zien, een hulpchassis voor de beide potmeters.
Gedeeltelijk verzonken in de bovenkant van het kastje, wordt een stukje koperen waterleidingbuis gesoldeerd; daarin komt later de ferrietstaaf. Het stuk waterleidingbuis wordt v66r het vastsolderen eerst in de lengterichting opengezaagd omdat het anders een kortgesloten winding om de ferrietstaaf zou vormen. In het midden, aan de onderzijde van deze buis, wordt een langwerpig gat gemaakt voor de doorvoer van de aansluitdraden. De sleuf aan de bovenzijde van de buis wordt later (na het schilderen van de behuizing) met PVC isolatieband afgeplakt tegen inwateren. De ferrietstaaf kan op verschillende manieren in de buis bevestigd worden; degene die over een draaibank beschikt kan uit kunststof een paar doppen draaien die in de buis passen en waarin tevens de ferrietstaaf geklemd wordt. Een andere oplossing is de buis of te sluiten met plastic meubeldoppen en hierin gaatjes te maken waar de ferrietstaaf juist door steekt. Een derde oplossing is de ferrietstaaf met zoveel isolatieband te omwikkelen dat deze precies passend in de buis gaat.
De lengte van de buis is uiteraard afhankelijk van de gebruikte ferrietstaaf, welke meestal tussen de 15 en 20 cm zal liggen; een praktische diameter is 28 mm.
Indien het geheel afgemonteerd en afgeregeld is kan de ferrietstaaf met twee componentenlijm vastgezet worden.
Dan nog wat praktische tips die bij de montage van pas kunnen komen. De print wordt aan de linkerzijde in het kastje gemonteerd m.b.v. 7 mm afstandbusjes. Aan de onderzijde van de print wordt van blik of printplaat in het kastje een compartiment gemaakt waarin de 9 volt batterij komt te liggen.
De aansluiting van de koptelefoon komt aan de onderzijde. Rechts van de print, zo dicht mogelijk tegen de achterzijde van het kastje, wordt de sense-antenne gemonteerd. Hiervoor kan uitstekend gebruik worden gemaakt van een telescopische antenne uit een Japanse transistorradio. Het gemakkelijkst werken de exemplaren die aan de onderzijde van schroefdraad zijn voorzien. Deze zijn overigens via de detailhandel verkrijgbaar.
Op de volgende wijze kan de antenne gemakkelijk gemonteerd worden: aan de bovenzijde van het kastje wordt een gat geboord en hierin komt een doorvoertule. De antenne wordt d.m.v. een beugeltje dat in het kastje gesoldeerd wordt aan de onderzijde vastgezet. Hiervoor moet een geisoleerd borstringetje gebruikt worden. Daarna kan het hulpchassis met de beide potmeters gemonteerd worden.
In het hulpchassis moet een gat geboord worden om bij de oscillatortrimmer te kunnen. Ik wens nabouwers veel succes toe!
PA0VRC.
PA0VER maakte ons er op attent dat in de componentenopstelling L5 en L6 verwisseld moeten worden en dat de 15k weerstand in de 455 kHz oscillator niet goed op de print zit; deze direkt aan de collector van de BC107 monteren.