In kortegolfzenders ziet men ringkerntrafo's die functioneren tussen 1,6 en 30 MHz. Nog frappanter zijn de trafo's in b.v. de SBL1 of MD108 of 1E500, die tussen 1 en 500 MHz werken! Over deze trafootjes gaat het volgende artikel.
Het transformatorkarakter van een transformator wordt beperkt, wat betreft het frequentiegebied, door twee factoren. Aan de lage kant beperkt de te klein wordende zelfinductie van de windingen de bruikbaarheid, aan de bovenkant de parasitaire capaciteit van de windingen. Voor een gewone transformator is in het HF-gebied een operationeel frequentiegebied van 1:10 al heel behoorlijk.
Er is een 'netwerkelement' dat een veel groter frequentiegebied aan kan, de transmissielijn. Als op de een of andere manier deze transmissielijn als trafo kan worden gebruikt, zijn frequentiebereiken van 1:100 of meer mogelijk. Zie hiervoor fig. 1.

Fig. 1.
In deze figuur is een transmissielijn afgebeeld, die wordt aangestuurd met een generator en belast met een weerstand R1. De transmissielijn kan vele vormen hebben, echter voor trafo's is deze lijn meestal opgebouwd m.b.v. twee in elkaar gedraaide draadjes.
De karakteristieke impedantie van een dergelijke transmissielijn is ergens tussen de 150 en 50 ohm. Een impedantie van ca 100 ohm wordt bereikt door twee gewone montagedraadjes (schelledraad) in elkaar te draaien, met 10 à 15 slagen per decimeter, ongeveer 50 ohm is haalbaar met twee gelakte koperdraden met een diameter van 1,5 mm, getwist met 30 slagen per dm. Terugkerend naar figuur 1 wordt de transmissielijn erg lang verondersteld. Er wordt een extra generator toegevoegd en een aardpotentiaal aangenomen. Zie fig. 2.

Fig. 2.
Allereerst is op te merken dat de generator U2 + Rg2 wordt kortgesloten via de transmissielijn tegen aarde. Dat is de reden waarom verondersteld wordt dat de transmissielijn lang is. De zelfinductie van deze kortsluiting is dan zo groot, dat de stroom via deze weg verwaarloosbaar klein is.
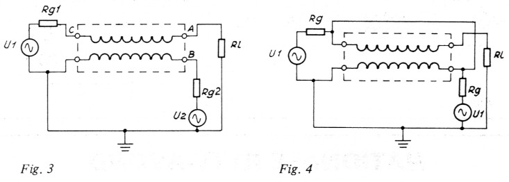
Op knooppunt A is een spanning te vinden, die gevormd wordt door UAB + UB. UAB wordt veroorzaakt door U1, en UB door U2. R1 wordt nu iets anders aangesloten, zie figuur 3. Stel nu dat U1 en U2 gelijk zijn, evenals Rgl en Rg2. In dat geval kan U2 en Rg2 vervangen worden door U1 en Rg1. Vervolgens wordt B en C doorverbonden (gelijke spanningen!) en ontstaat figuur 4.

Fig. 3 en 4.
De parallelschakeling van U1, Rg en U1, Rg kan vervangen worden door een bron spanning U1 en inwendige weerstand ½Rg = Rg1. Zie figuur 5.

Fig. 5 en 6.
Dit schema lijkt op een enigermate vervormde 'autotrafo'. Die gedachtengang is juist. Het verschil is alleen dat de parasitaire wikkelcapaciteit listig is benut, zodat een transmissielijn ontstaat. Over R1 ontstaat nu 2Ui. Dit is echter alleen waar als de fasedraaiIng van de transmissielijn klein is. Dit betekent een korte transmissielijn terwijl eerst is aangenomen dat de lijn lang was. Dit probleem is op te lossen door een korte transmissielijn te nemen en deze een aantal malen om een ferrietring te slaan. Op die manier ontstaat de ringkerntrafo, die meestal voor kleine vermogens in b.v. transistorzenders voor de KG wordt toegepast. Deze trafo transformeert 1:4. De karakteristieke impedantie van de transmissielijn dient 2 te zijn. Voor deze 1:4 trafo geldt dus 4Rg1 = 2Zo = R1.
Voortbordurend op de 1:4 transmissielijn trafo zijn er nog veel andere vormen te bedenken. Een andere veel gebruikte configuratie is figuur 7, een gebalanceerd type. Hierbij is de transmissielijn uitgevoerd met drie draadjes, een 'trifilaire wikkeling'. De karakteristieke impedantie is per transmissielijn weer ½R1= 2Rg.

Fig. 7.
Deze trafo kan asymmetrisch worden aangestuurd door een symmetreertrafo te gebruiken, zoals getekend in figuur 8. Er is dan een configuratie ontstaan die in de bekende dubbelgebalanceerde scottky mixers wordt gevonden.

Fig. 8.
In transistor eindtrappen vindt men vaak in het collectornetwerk nog een iets andere trafo. zie figuur 9. De voedingsspanning wordt hierbij toegevoerd via een aparte trafo, zie fig. 10. Bij dit type transmissielijn trafo is vaak een laagohmige Zo nodig (b.v. 25 ohm). Dit wordt dan gerealiseerd door twee stukjes 50 ohm coax parallel te zetten. Een andere mogelijkheid is om koperband toe te passen. Door de veel grotere capaciteit per lengte-eenheid ontstaat een lage Zo.

Fig. 9 en 10.
Hoe client nu de lijnlengte en het benodigde ferriet gekozen te worden?
Aangezien de fasedraaiing van de spanning aan de uitgang van de lijn klein moet zijn, moet de lijn elektrisch kort zijn voor de hoogst te gebruiken frequentie (b.v. < 0,15 lambda). Wikkelen we deze lijn om de ringkern dan dient een draadje een zelfinductie te hebben die minstens 10x groter is dan Zo. Dit geeft een aanduiding van het te gebruiken ferriet. Bij deze keuze moet er echter voor gezorgd worden dat het ferriet niet te veel vermogen dissipieert bij hoge frequenties. Tot 30 MHz is kC6 materiaal bruikbaar (µr > 100). Hierboven kan poederijzer toegepast worden of het "63" materiaal van Amidon.
Het te transporteren vermogen bepaalt de afmetingen van de ringkern. Voor kleinsignaal toepassingen (< 100mW) is alleen belangrijk of het aantal windingen op het ringetje kan. Bij vermogens niveaus worden de afmetingen van de ringkern altijd gespecificeerd. Overigens zijn de prestaties wat vermogen betreft voor ringkern trafo's indrukwekkend. De gebruikte ringkern diameter voor een 200 Wpep output KG-zender is b.v. slechts ca 4 cm. Al met al is de transmissielijn transformator een veelzijdige component en niet meer weg te denken uit de moderne breedband halfgeleidertechniek!
PA0WOW.