Bij de meeste MF versterkers wordt de versterking geregeld door de versterker of te knijpen. In feite is dit onlogisch. Bij toenemende signaalsterkte zou eigenlijk de versterker meer ruststroom moeten gaan trekken, om de lineairiteit te handhaven. Bij forward A VR gebeurt dit inderdaad.
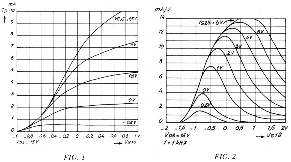
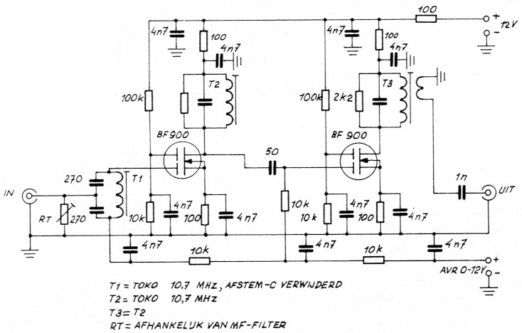
De versterker, waarvan de ruststroom toeneemt en de versterking afneemt, is een BF 900. Andere "dual gate mosfet's" zijn ook bruikbaar, zoals BF 981, 40673, 40604, 3N200, 3SK40 e.d. Om te zien wat er gebeurt, zie fig. 1. Hierin staat de drainstroom uitgezet tegen de gate 1 spanning. De steilheid van de grafiek geeft de steilheid van de mosfet. Meten we de steilheid van de grafiek en zetten we deze steilheid ook weer in een grafiek, dan ontstaat fig. 2. De steilheid is een mast voor de versterking. Bezien we nu fig. 2, dan blijkt dat we de steilheid (versterking) kunnen laten afnemen op twee manieren, n.l. door naar links of naar rechts te schuiven in de grafiek.

Kies b.v. het instelpunt Ug2 = 1V, Ug1 = -0,5V. De steilheid is daar ongeveer 7,5 mA/V. De steilheid kan nu verkleind worden door Ug2 te verkleinen (wat meestal wordt gedaan), Ug1 af te laten nemen of Ug1 te vergroten. In dit laatste geval neemt de drainstroom toe. Dit is precies het gewenste gedrag.
Verder is uit fig. 2 af te lezen, dat er bij sterk positieve Ug1 een "reststeilheid" overblijft. In het gekozen geval (Ug2 = 1 V, Ugl = -0,5V) zal na vergroten van Ug1 tot zo'n 4V of meer nog ±0,5 mA/V overblijven. Deze versterking mag Been oversturing geven van de rest van de ontvanger, zodat men, uitgaande van 0,5 mA/V, de drainbelasting kan kiezen. Neemt men b.v. 2 kΩ, dan is bij 0,5 mA/V de spanningsversterking 1.
Past men meerdere trappen toe, dan bestaat bij 2K drainbelasting niet het gevaar van oversturing ergens middenin de MF versterker.
Wordt de MF versterker overstuurd, dan zal dat gelijktijdig gebeuren voor alle trappen.
De MF versterker is geschikt voor 10,7 MHz, opgenomen stroom max. ±25 mA.
Voor gebruik op 9 MHz dient zowel bij T2 als T3 een condensator van 27 pF over de spoel extra aangebracht te worden.
De versterking bedraagt +40 dB en kan tot 0 dB worden teruggeregeld.
Wanneer meer versterking is gewenst (het regelbereik blijft 40 dB!) kan de demping van de trafo'tjes worden verkleind (vergroot de twee 2K2 weerstanden).
De MF versterking kan wat klein lijken. Past men echter een goede produktdetector toe en een ruisarme LF-versterker, dan is deze tweetrapsversterker voldoende. Naar smaak kan men echter nog een extra trap versterking toevoegen. Het regelbereik neemt dan ook toe (±20 dB per trap).
Overigens is het beter om, nadat de MF-versterker volledig is "uitgeregeld", het antennesignaal te verzwakken. Hiervoor is een goede PIN-diode verzwakker te gebruiken. Men kan dus eerst de AVR spanning laten stijgen tot b.v. 6V en bij verdere toename de PIN-verzwakker in werking laten treden.

Fig. 3.
PA0WOW.