Regelmatig nemen we in CQ-PA wat onderwerpen bij de kop waarvan de redaktie van mening is dat er bij de gevorderde zelfbouwer belangstelling voor bestaat. Dit keer een beschrijving van het CMOS IC type 4046. De 4046 bevat een interessante fasevergelijker en hoe die in de praktijk is toe te passen wordt onderstaand beschreven.
Het IC 4046 staat onder een aantal namen bekend, afhankelijk van de fabrikant. Motorola noemt hem MC 14046, Philips HEF 4046 en Fairchild CD 4046. Ook worden nog wel andere naamgevingen gebezigd maar de zojuist genoemde zijn de meest gebruikelijke.
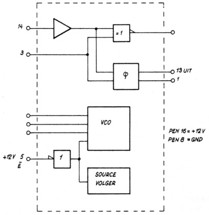
De chips zijn niet alle precies hetzelfde. De chip van Philips is ongeveer twee keer zo snel als de beide andere. De HEF 4046 is bij 12 volt tot meer dan 8 MHz bruikbaar, de andere types tot zo'n 2 à 3 MHz. In figuur 1 is het blokschema van de 4046 gegeven. De fasevergelijker waar het hier om gaat, wordt aangestuurd op de pennen 14 en 3, terwijl de uitgang op pen 13 zit.

Fig. 1.
Pen 1 geeft informatie over het faseverschil tussen de ingangssignalen in de vorm van een blokspanning.
De overige geintegreerde functies zijn hier niet van belang. De sourcevolger zou kunnen worden gebruikt, echter niet zonder ook de VCO "aan te zetten" (enable = 1).
De grote kracht van de fasevergelijker is het feit, dat de uitgangsspanning theoretisch een gelijkspanning is, wanneer het systeem is ingelocked.
Een ander groot voordeel van de 4046 is, dat er behalve naar de fase, ook naar de frequenties op pin 14 en 3 gekeken wordt. Zolang de frequenties niet gelijk zijn, wordt de uitgang van de fasevergelijker constant (bijna constant) op 0 volt of 12 volt gehouden, totdat er alleen nog een faseverschil tussen de ingangsfrequenties is. Om het belang hiervan in te zien is fig. 2 getekend. Stel nu, dat het 'loop filter' is uitgerust met een laagdoorlaatfilter met een kantelpunt van ca 10 kHz (zie ook fig. 3). Stel verder, dat na inschakeling van de voedingsspanning de VCO oscilleert op 45,4 MHz en het VFO oscilleert op 5,2 MHz. De 4046 krijgt dus 5,2 MHz en (45,4 - 40) = 5,4 MHz aangeboden.

Fig. 2.
Wanner nu een 'gewone' fasevergelijker zou worden toegepast, ontstaat aan de uitgang een gelijkspanning met een rimpel van (5,4 - 5,2) = 200 kHz. Deze 200 kHz wordt echter door het loopfilter onderdrukt, zodat er geen reden is voor de VCO om zijn frequentie te wijzigen. Het systeem blijft 'till lock'. In PLL termen heet het dan dat het vanggebied (capture range) niet groot genoeg is.
De 4046 kijkt echter, zoals gezegd, ook naar de frequenties en zal dus nul volt constant (en geen gemiddelde spanning met een rimpel!) af blijven geven, zodat ongeacht de tijdconstante in het loop filter de VCO uiteindelijk wel zal moeten zakken in frequentie. In PLL ter-men: het vanggebied is onafhankelijk van het loop filter!
De uitgangsspanning van de fasevergelijker is, zoals opgemerkt, theoretisch een gelijkspanning. Praktisch echter is er een smalle 'spike' te zien van zo'n 20 à 50 ns breed, afhankelijk van het fabrikaat van de chip. Deze spike is eenvoudig te verwijderen door het lusfilter. Zo ontstaat figuur 3.

Fig. 3.
De tijdconstante in het loop filter is een rijke bron van experimenteerplezier. Maak het weerstandje van lk maar eens instelbaar, evenals de 22k weerstand. Sluit vervolgens een scoop aan op de uitgangsspanning van de CA 3130 en verstem de VCO b.v. 10 kHz d.m.v. een varicap en een blokspanning met een frequentie van b.v. 100 Hz.
De onderstaand getekende plaatjes (figuur 4) zijn dan op het scherm te verwachten. In fig. a en in mindere mate in fig. c is sprake van doorschieten (overshoot). Dit is een indicatie voor het feit dat de PLL voor een bepaalde frequentie de neiging vertoont om te gaan oscilleren. Dit dient te worden voorkomen, dus regel de trimpotjes af op maximaal 10% 'doorschot'.

Fig. 4.
De buffer CA 3130 is ingesteld op ongeveer twee keer spanningsversterking. Dit is gedaan om de spanningsvariatie op punt 13 van de 4046 enigszins te beperken. Het voordeel hiervan is dat de spike op punt 13 niet al te groot is. Omdat de fasevergelijker tevens een frequentie vergelijker bevat, mag pin 3 niet verwisseld worden met pin 14. Anders gezegd, spanningsstijging van pin 13 moet resulteren in frequentie toename op pin 3.
Zou men b.v. de kristaloscillator niet op 40 MHz maar op 50 MHz zetten, dan dient pin 3 en 14 te worden verwisseld. Overigens dient pin 14 AC gekoppeld te worden en heeft aan zo'n 700 mVpp genoeg, terwijl pin 3 op de helft van de voedingsspanning moet worden ingesteld en zo'n volt of twee nodig heeft.
Het IC is ook toepasbaar voor synthesizers. Men zal wellicht de tijdsconstanten voor het loop filter moeten aanpassen, maar een scoop en de hier beschreven meetopstelling zullen duidelijk maken in welke mate dat het geval moet zijn.
Al met al is de 4046 een prima IC om in allerhande PLL-achtige schakelingen te gebruiken. Het resulterende spectrum is in ieder geval beter dan wanneer een TBA120 met 741 wordt toegepast!
PA0WOW.