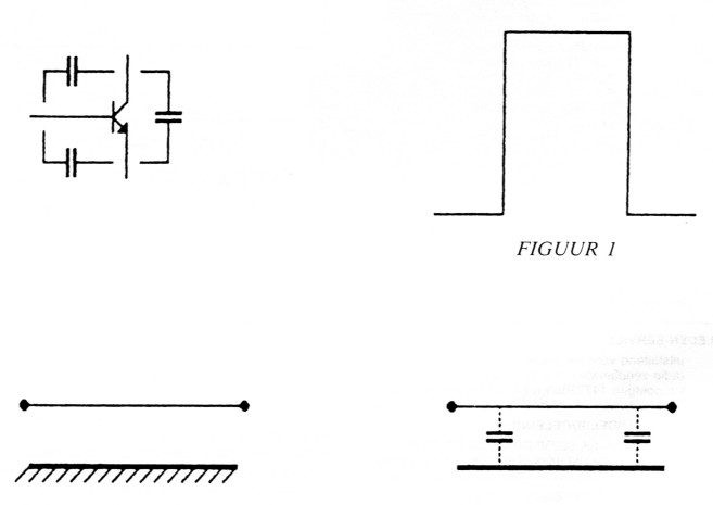
Een verandering teweeg brengen, dat kost tijd... Bij de blokgolf (figuur 1) bijvoorbeeld gaat het signaal in een tijd 'nul' van hoog naar laag en omgekeerd. Zolang er met lage frequenties gewerkt wordt is dat juist, maar met het toenemen van de frequentie gaat 'geen-tijd' steeds minder bestaan. We zetten een ideate blokgolf op een draad. De draad bezit een kleine capaciteit naar aarde. Het laden van deze kondensator kost tijd, waardoor de blokgolf verandert.

Fig. 1.
Gaan we de frequentie van de blokgolf verhogen, dan zal de tijd dat het signaal 'hoog' is steeds kleiner worden, waarbij voor nog hogere frequenties het laden van de C zo lang duurt, dat het signaal allang weer 'laag' is voordat de kondensator geladen is. Het oorspronkelijke blok wordt ernstig vervormd en wordt bij hoge frequenties nooit meer 'hoog'. De draad absorbeert het signaal! Transporteer daarom geen digitale signalers over Lange draden (enkele meters is al lang). De RS-232 aansluiting is gemaakt voor grotere afstanden; het extra hoge spanningsniveau van de RS-232 zorgt dat er dan nog iets van de digitale blokken overblijft. Alle versterkende elementen die wij kennen, hebben elektroden waartussen een kapaciteit heerst. Deze inwendige kapaciteiten beperken de hoogste frequentie waarvoor het onderdeel bruikbaar is. Bovendien kunnen in-en uitgang als het ware worden kortgesloten door deze C's en kunnen ongewenste koppelingen ontstaan. Bij elektronenbuizen verplaatsen de elektronen zich door een vakuiim en worden dus niet of nauwelijks afgeremd. Voor halfgeleiders is de weg voor de elektronen niet zo gemakkelijk af to leggen... ze moeten zich door het silicium of germanium wringen, waarbij P-N of N-P overgangen een extra hindernis vormen. Dat kost tijd! Met het stijgen van de frequentie neemt de versterking van transistoren dan ook sterk af. Het begrip 'Hfe' is niet langer van toepassing. De Hfe geldt alleen voor gelijkstroomversterking. Voor de wisselstroomversterking wordt het symbool β gebruikt. Voor transistoren geldt: Ft = 13 × f. Ft noemt men de grensfrequentie en vaak wordt gedacht dat dit de hoogste frequentie is waarbij de transistor nog bruikbaar is. De stroomversterking is volgens de formule echter: Ft/f. Een verdubbeling van de frequentie reduceert de stroomversterking tot de helft (6 dB), de vermogensversterking tot een kwart! Als grafiek wordt de zaak vaak getoond als een rechte lijn: omdat beide assen van de grafiek een logaritmisch verloop hebben wordt de ernst van de situatie niet meteen duidelijk. Daarom is ook een grafiek getekend met een lineaire schaal, dat ziet er heel anders uit. Als voorbeeld werd hier de BD139 genomen. Hfe = 64; Ft = 64 MHz. Tot 1 MHz is de versterking maximaal en zakt dan snel. Met de BD139 werd een eindtrap gebouwd voor de 80 mtr-band, dat moet toch kunnen met een Ft van 64 Mhz. Bij 4 Mhz is de versterking al met 12 dB afgenomen, dus nog maar 1/16 van de vermogensversterking die mogelijk is. Zelfs binnen de band zijn de verschillen opmerkelijk: het uitgangsvermogen op 3,5 Mc/s is 1,2 Watt, op 3,8 Mc/s nog maar 0,8 Watt.


De moraal van het verhaal...
Neem voor hoogfrequent werk niet zomaar een transistor, zeker niet als een hoge versterking of een groot vermogen gewenst is. Met het stijgen van de frequentie neemt de versterking van transistoren dramatisch af.
PA3FFZ, Bastiaan.