Bij de 400W PA voor de korte golf banden zoals in het begin van dit jaar in CQ-PA is gepubliceerd behoort uiteraard ook nog een krachtige voeding, een voeding waarnaar niet alleen door de korte golf enthousiastelingen wordt uitgekeken maar ook door de VHF/UHF amateurs die een flink vermogen willen gaan maken.
Een hoogspanning van ca 3000 volt is dermate levensgevaarlijk dat de redactie eerst op dit aspect ingaat voordat we verder gaan met de bouw van deze voeding. We plaatsen weleens een kritische of aanvullende 'foot van de redactie' aan het einde van een artikel maar het thema veiligheid achten we bij dit project zo belangrijk dat we er deze keer het artikel mee openen. Deel 2 van de "Grounded Grid Amplifier" hebben we afgesloten met de bezorgde reacties van onze lezers. Met het ontwerp van PA0BX is het mogelijk dat de gebruiker in contact kan komen met de hoogspanning en een dergelijke aanraking is dodelijk!
Bij het huidige ontwerp kan een mens de dood vinden door een onoplettend moment en wie maakt er nu geen fouten of wordt op een kwade dag niet eens afgeleid.
Hier spelen twee problemen:
Er zou al flink wat aan veiligheid worden gewonnen als de aan/uit schakelaar van de voeding in de grounded grid amplifier zou worden opgenomen en die van de PA naar de kast van de voeding zou verhuizen. Het wordt nog beter als de netschakelaar van de voeding een sleutelcontact wordt op het deurtje en wel zodanig dat het deurtje alleen open kan als de hoogspanning is uitgeschakeld. Hierbij dient de PA, en vooral de gloeistroom voor de buizen, ingeschakeld te blijven zodat de hoge spanning op de afvlakcondensator C1 weg kan vloeien. De ruststroom zou nog even kunnen worden verhoogd met een extra relais dat de middenaftalddng van de gloeistroomtrafo aan massa legt als de netspanning van de voeding is gehaald. Dit relais zou dan in onbekrachtigde toestand moeten 'maken' en gevoed moeten worden uit de 24 V gelijkspanning die in de voeding voor de inschakelvertraging wordt benut. Het moet niet mogelijk zijn om de voeding van netspanning te voorzien als de PA niet is aangesloten - de netspanning moet via de PA naar de voeding lopen... met stekers die niet in een gewoon stop-contact passen.
Ter vermijding van mechanische problemen en kruisende netsnoeren zou men kunnen overwegen om de oorspronkelijke netschakelaar van de PA aan de achterkant van de PA te monteren. Met deze schakelaar wordt dan de gehele installatie uitgezet. De schakelaar op het front van de PA gaat dan de voeding van netspanning voorzien met als gevolg dat er geen schakelaar meer op de voeding zit.
Schakelen in de 3500 volt hoogspanningslijn is niet realistisch. Dat lukt alleen met heel bijzondere schakelaars (overslag!) een geeft enorme isolatieproblemen.
De bediening wordt dan als volgt:
Inschakelen van de hele installatie: schakelaar aan de achterkant van de PA. De gloeidraden van de buizen kunnen nu rustig opwarmen. Als we nu al weten op welke band we straks gaan uitkomen kan de juiste anodespoel veilig worden geplaatst.

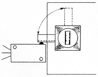
Een van de mogelijkheden voor de realisering van de sleutelschakelaar is om gebruik te maken van een slot zoals wordt gebruikt voor bureauladen en 'lockers'. Het vaantje zorgt voor de vergrendeling en drukt de micro-switch, bij voorkeur twee stuks, in als het deurtje gesloten is. Deze sloten zijn goed in de handel verkrijgbaar.

Fig. 2. Sleutelschakelaar.
Zenden: netschakelaar aan de voorkant van de PA aanzetten... de voeding gaat hoogspanning leveren, maar alleen als het deurtje goed gesloten is.
Spoel verwisselen: schakelaar aan de voorkant op uit. De hoogspanningsvoeding gaat uit en C1 wordt ontladen. Het openen van het deurtje heeft hetzelfde effect als het uitzetten van de schakelaar op de voorkant. De deurschakelaar kan echter niet worden weggelaten... dan nog eerder de schakelaar op de voorkant. Maar het veiligst is toch: gewoon beide schakelaars. Verder zenden: deurtje dicht en de schakelaar op het front van de PA weer op aan.

De voeding rechts naast de PA. De voeding is wel wat kleiner dan de PA maar toch nog een bak vol onderdelen. Merk op dat de shack van PA0BX een echte studio is met een acoustische demping op de wanden. Eierrekjes, zeer doeltreffend.
Er wordt weleens beweerd dat de tijden van zelfbouw over zijn omdat je tegenwoordig alles wel kunt kopen. Maar wie een voeding voor een spanning van 3000 volt en een behoorlijk vermogen wil gaan kopen komt bedrogen uit. Het enige apparaat waar we een flink eind mee komen is een magnetron.
U kent hem wel, die stevige doos waarin we spijzen plaatsen om die snel te verwarmen. In tegenstelling tot de bekende bakoven/grill zit er in de magnetron geen verwarmingselement maar wordt het voedsel, het water in het voedsel, verwarmd met radiogolven in het UHF-bereik. Een magnetron met een vermogen van 1000 watt is niets bijzonders maar of dit het vermogen is dat aan het net wordt onttrokken of dat dit het vermogen is dat voor de verwarming beschikbaar is... dat is niet helemaal duidelijk.
Hoe dit ook zij, een magnetron kan een groot vermogen genereren en gebruikt daarvoor een Buis =buizen ouderwets?= en voor ons nog belangrijker: de magnetronbuis werkt op een zeer hoge spanning en die hebben we nu net nodig.
Wat kost u een oude magnetron? Veel meer dan de verwijderingsbijdrage zal de handelaar u niet in rekening brengen; waarschijnlijk krijgt u het ding helemaal voor niets mee. Twee gelukkigen hebben we dan: de handelaar is eindelijk van dat ding of en u heeft een prachtige trafo... en vermoedelijk nog een paar onderdelen waar maar lastig aan te komen is. Het moet wel heel raar lopen als nu net de trafo de reden is dat de magnetron tot lastig afval is geworden.
Zo, een van de lastigste en vooral kostbaarste onderdelen hebben we voor een prikje bemachtigd. Erg veel lastige onderdelen hebben we verder niet nodig, behalve C1 en C2 die een doorslagspanning moeten hebben die royaal boven de 3,5 kV ligt. Vooral C1, 40 µF bij 4200 volt, is een lastig ding. Als het meezit zit er ook nog zoiets in de magnetron en zo niet dan zult u op zoek moeten gaan naar een echte ouderwetse 'blokcondensator'.
Theoretisch is C1 op te bouwen door elco's in serie te zetten. Omdat het niet waarschijnlijk is dat u elco's kunt bemachtigen voor een spanning hoger dan 450 V moeten er dan 10 stuks in serie worden gezet. Met het serieschakelen van condensatoren daalt de capaciteit zodat u dan 10 elco's van 400 µF moet gaan gebruiken... een flinke doos vol. Maar we zijn er nog niet. De elco's moeten van zeer goede kwaliteit zijn en ook nog onderling gelijk, zowel in capaciteit als in lekstroom. Bovendien dienen we over iedere elco ook nog een weerstand, 25 kΩ à 10 W, te zetten om ervoor te zorgen dat de hoogspanning over alle elco's gelijk wordt verdeeld. Laten we dit aan het toeval over dan zijn er beslist elco's die meer dan 450 V voor hun kiezen krijgen en dus doorslaan. Een ontploffing... en er volgen er meer want als eenmaal een elco het begeven heeft dan krijgt de rest nog meer spanning; met noodlottige gevolgen. Een heel belangrijke reden om geen elco's in serie te gebruiken is het gevaar!
Veelal is het aluminium huis van een elco tevens de minpool. Maar op het moment dat we serie gaan schakelen is dat niet meer het geval... een gewoon mens rekent er echter op dat ie het huis van een elco best kan aanraken; dat is immers geaard en dus veilig. Niet dus!
!! 3500 volt is dodelijk !!
Bij het inschakelen is C1 nog leeg en zal zich snel willen laden via de diodebrug D1 t/m D4. De weerstand van deze brug is gering, zo gering dat er een flinke stroom gaat lopen... en de zekeringen er uit knallen.
Vandaar dat deze voeding in twee stappen wordt ingeschakeld.
De weerstanden R3 en R4 beperken de inschakelstroom.
Na verloop van tijd, 2..5 seconden, schakelt relais K1 deze weerstanden uit. De vertragingstijd wordt ingesteld met R8 en R9 waarvan u de waarde zelf experimenteel dient te bepalen. De aangegeven waarden in het schema zijn slechts richtwaarden aan de hand van de ervaringen van PA0BX. Gebruik geen instelpotmeter, die gaat verlopen, maar goede vaste weerstanden.
Vanuit het net moeten maar geen storingen de voeding binnenkomen en om dat tegen te gaan is met L1 , L2, C4 en C5 een ontstoringsfilter gemaakt.
L1 en L2 zijn samen bifilair (met twee draden) op een ferrietstaaf gewikkeld, 18 windingen van PVC-geïsoleerd 2,5 mm2 leidingdraad.
De condensatoren dienen aan hoge eisen te voldoen. Condensatoren voor dit doel zijn speciaal verkrijgbaar en dienen bestand te zijn tegen spikes en tenminste 400 V wisselspanning.

Links de zware weerstanden R3 en R4, 2× 44 Ω parallel. De weerstanden in het midden zijn samen R* voor de voltmeter en rechts is de inschakelvertraging zichtbaar. Rechtsboven is nog net de kleine trafo T2 zichtbaar, daaronder het printje met T1 en T2 en de bijbehorende koelplaten. In de rechter onderhoek is het relais K1 te zien.

Fig. 3 Schema.
Teneinde de stroom door de diodebrug te beperken zijn de weerstanden R1 en R2 opgenomen. Dan komen we, het schema volgend, bij de diodebrug. Deze brug is veel gecompliceerder dan het schema doet vermoeden; diodes met een zeer hoge sperspanning die ook nog een flinke stroom kunnen verwerken zijn voor de amateur niet bereikbaar. Vandaar dat er voor iedere diode in de brug (D1 t/m D4) maar liefst 7 'gewone' diodes worden gebruikt. Die 7 diodes per tak staan in serie geschakeld en zijn voorzien van parallelweerstanden. De functie van deze weerstanden is om er voor te zorgen dat over iedere diode een gelijke spanning komt te staan. Bovendien is iedere diode ook nog overbrugd met een condensator om de diodes te beschermen tegen 'spikes'. De totale constructie van de brug bestaat dus uit 28 diodes, 28 weerstanden en 28 condensatoren. Ook deze condensatoren moeten geschikt zijn voor netspanning, 400V wisselspanning. Over de mechanische problemen die de constructie van de diodebrug met zich meebrengt gaan we het straks hebben.

Het uitgangspunt is de secundaire spanning van de trafo die ergens tussen de 1800 en de 2500 volt moet liggen. We hebben het over de effectieve spanning; de maximale spanning ligt dan √2 (1,41) maal zo hoog -> 2545..3535 volt. Maar we zijn er nog niet omdat er gerekend dient te worden met de top-top spanning en die is nog eens 2× zo hoog. Dus 5090 - 7070 volt. Deze spanning wordt verdeeld over 7 diodes en zo komen we op een spanning tussen 727 en 1010 volt per diode, afhankelijk van de spanning van de secundaire van de trafo. Deze beschouwing geldt voor gelijkrichting met een trafo met middenaftakking en het gebruik van een halve brug.

Bij gebruik van een hele brug (geen middenaftakking) wordt de spanning verdeeld over 14 diodes is 7 in de plus- en 7 in de min-leiding= zodat we met een lagere spanning per diode kunnen volstaan.

| Type | V sper | I max |
|---|---|---|
| 1N5408 | 800 V | 3 A |
| BYW85 | 880 V | 3 A |
| BY228 | 1500 V | 3 A |
De diodes, weerstanden en condensatoren voor de gelijkrichterbrug worden gemonteerd op stroken enkelzijdige printplaat met een breedte van 20 mm en een lengte van 165 mm. Voor iedere tak van de brug gebruike men een zo'n strook. De draden van de diodes moeten niet worden afgeknipt omdat ze worden gebruikt als extra koeling voor de diodes. De stroken worden vertikaal gemonteerd om een betere koeling te verkrijgen.



De gevaarlijke 3 kV HSP wordt niet met een steekverbinding van de voeding naar de grounded grid amplifier gebracht maar via een coaxkabel RG58U die voorzien is van kabelschoentjes, 6 mm.
Deze verbinding moet dus doelbewust vast- of losgeschroefd worden en wordt nog eens extra tegen aanraking beveiligd door een plexiglas afscherming.
Op de voltmeter kan de spanning worden afgelezen.
Gebruik een ongevoelig meetinstrument (1 mA) of maak uw meter ongevoelig met een parallelweerstand.
De weerstand R* client voor een meterstroom van 1 mA en een spanning van 3500 V 3,5 MΩ te bedragen. Gebruik hiervoor niet een weerstand maar een stuk of vijf in serie.
5 × 680 kΩ = 3400 kΩ.
Over een weerstand van 680 kΩ staat bij 1 mA 680 V P = 680 mW. Gebruik hiervoor stabiele metaalfilmweerstanden à 1 watt.
Wordt de voeding onbelast ingeschakeld, bijv. tijdens de testfase, dan is voor de ontlading van C1 de voltmeter de enige mogelijkheid. Dat gaat langzaam, maar u kunt aan de meter in ieder geval zien hoe het met de ontlading van C1 staat. De voltmeter is dan ook een van de eerste dingen die bij de bouw van de voeding moet worden aangebracht.
De min van de hoogspanning ligt niet direct aan massa maar loopt via R5. Over R5 ontstaat een spanningsval voor de stroommeters in de PA... sluit deze dus niet kort en neem een draadgewonden exemplaar van 10 watt.
Het spreekt vanzelf dat zowel de voeding als de PA in een stevige en vooral dichte kast moeten worden ondergebracht.
Daar de onderdelen van de voeding een flink gewicht hebben is de bodem van de kast van de voeding niet van aluminium maar van 18 mm dik multiplex. Beide metalen kasten moeten bovendien goed op de veiligheids-randaarde worden aangesloten.


Bij de 'grounded grid amplifier' en de bijbehorende voeding wordt een zeer hoge spanning gebruikt die dodelijk is.
Werk veilig tijdens het bouwen en vooral tijdens het testen.
Bent u niet vertrouwd met de omgang met hoge spanningen... laat u dan bijstaan door iemand die er wel ervaring mee heeft. Of, begin er niet aan.
PA0BX.