Al heeft de woning zelf geen bliksemafleiderinstallatie, bestaande uit een leidingnet op het dak met afgaande leidingen rondom, dan zijn er toch een aantal voorzieningen die men met enige handigheid zelf kan aanbrengen. Hiermee kan een relatief goede beveiliging tegen schade veroorzaakt door blikseminslag worden verkregen, indien men ook de maatregelen onder 1, 2 en 3 treft (zie deel 1).
De maatregelen die men zelf kan nemen zijn de volgende:
a. Leg een 'aarding' aan. Voor zo'n aarding bestaan twee mogelijkheden:
Een vertikaal in de grond geslagen aardelektrode
Gebruik hiervoor bij voorkeur een koperen waterleidingbuis. Deze buis moet ten minste vier meter tang zijn en kan met een hamer in de grond worden gedreven. In veel gevallen kan een dergelijke buis ook met behulp van een tuinslang, aangesloten op de waterleiding, de grond in worden gespoten (zie figuur 6).

Fig. 6. Zo spuit u een vertikale aardelektrode (roodkoperen buis) de grond in: kraan open, daarna met de buis een op- en neergaande beweging maken. Voor deze methode is wel voldoende waterdruk nodig.
Een horizontaal in de grond gegraven aardelektrode
Gebruik hiervoor bij voorkeur twee in elkaar getwiste vertinde koperdraden, elk met een doorsnede van 6 mm2 (2,75 mm middellijn) en een lengte van ten minste 15 m. Graaf deze leiding 60 cm diep in de grond.
Het is uit veiligheidsoverwegingen niet toegestaan de elektrische veiligheidsaarding (randaarde) voor de bliksembeveiliging to gebruiken.
b. Verbind de metalen antennemast door middel van een vertinde koperdraad met een doorsnede van ten minste 6 mm2 (2,75 mm middellijn) met de aarding.
De vertinde koperdraad kan aan de antennemast worden bevestigd door middel van een klembeugel (zie figuur 7). De verbinding met de vertikale aardelektrode kan op soortgelijke wijze of door solderen tot stand worden gebracht. De vertinde koperdraad tussen antennemast en aarding (zogenaamde afgaande leiding) moet met zo min mogelijk bochten de kortste weg volgen tussen de voet van de mast en de aardelektrode. Indien de antenne zich op of aan de woning bevindt, moet de draad deugdelijk aan de buitenkant van de woning worden bevestigd.

Fig. 7. Deze soon klem kan ook gebruikt worden voor aansluiting van de afgaande leiding op een vertikale aardelektrode (roodkoperen buts)
Tegelijkertijd moet deze draad op zo groot mogelijke afstand van andere leidingen aangelegd worden. Indien de draad een metalen dakgoot of dakrand passeert, moet hiermee een verbinding worden gemaakt, bij voorkeur een klemverbinding.
c. In de meeste gevallen is de antenneleiding een zogenaamde coaxiaalkabel, bestaande uit een geisoleerde kern met daaromheen een afscherming van gevlochten koperdraadjes. Verbind deze afscherming met de aarding. Hiervoor dient in de antenneleiding, vlak voordat deze de woning binnengaat, een neerwaartse lus to worden aangebracht, zoals reeds genoemd onder 2 (zie deel 1). Dit is schematisch aangegeven in figuur 5.
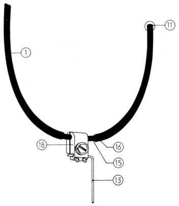
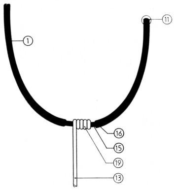
Op het laagste punt in de lus moet de mantel van de kabel voorzichtig worden verwijderd. Verbind aan de afscherming een koperdraad met een doorsnede van ten minste 6 mm2 en werk deze verbinding waterdicht af. Verbind het andere einde van de draad met de aarding, waarbij de draad de kortste weg moet volgen met zo min mogelijk bochten. Voor details, zie de figuren 8, 9 en 10.

Fig. 8. Verbinding op de afscherming van uw antenneleiding bij neergaande lus d.m.v. een zelf gemaakte klem. Deze verbinding na het aanbrengen waterdicht afwerken.

Fig. 9. Verbinding op de afscherming van uw antenneleiding bij neergaande lus d.m.v. een in de handel zijnde aftakklem. Deze verbinding na her aanbrengen waterdicht afwerken.

Fig. 10. Verbinding op de afscherming van uw antenneleiding d.m.v. spiraalvormige windingen van de aardleiding. Dit moet voorzichtig gebeuren zonder beschadiging van de afscherming. Deze verbinding na het aanbrengen waterdicht afwerken.
Bij meer dan een antenneleiding geldt deze maatregel voor elke antenneleiding afzonderlijk.
Indien de woning is voorzien van een bliksemafleiderinstallatie, moet de voet van de antennemast met een dakleiding worden verbonden (zie figuur 11). Gebruik hiervoor hetzelfde leidingmateriaal als voor de bliksemafleiderinstallatie. Ook de maatregelen onder 4c. moeten worden genomen.

Fig. 11. De beste bliksembeveiliging: een complete bliksemafleiderinstallatie volgens de Nederlandse norm NEN 1014 op de gehele woning. Een dergelijke installatie kunt u her beste laten aanleggen door een gespecialiseerd bedrijf. De antennemast en de afscherming van uw antenneleiding op de bliksemafleiderinstallatie aansluiten.
De maatregelen genoemd onder 1, 2 en 3 blijven onverkort van kracht.
De Nederlandse norm NEN 1014 Normkommissie NEC 98 19773012
Deel 1 - deel 2.